南京地铁最新票价表公布(南京地铁涨价后)
南京地铁最新票价表公布(南京地铁涨价后)
重磅!
备受关注的
南京地铁票价调整方案
正式出炉!

用表格来看:


地铁一号线新票价阶梯表


地铁二号线新票价阶梯表

地铁二号线旧票价阶梯表

上面的几张图,分别为地铁一号线新旧票价、地铁二号线新旧票价,仔细看看,应该都能看懂。
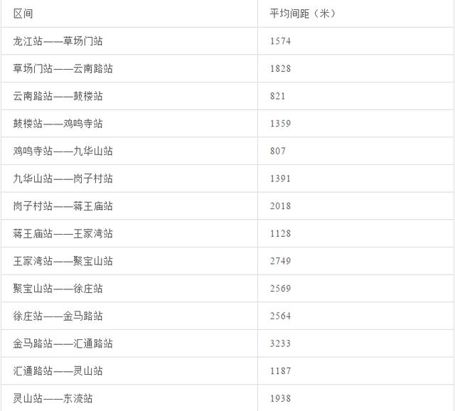
下面是地铁各站间距表,算算本月底后,你乘地铁的票价到底是多少?
三号线站间距表


四号线站间距表


十号线站间距表

机场线站间距表

宁和S3号线站间距表


宁溧S7线站间距表

宁天S8号线站间距表

S9号线站间距表

备注:平均距离等于左线、右线平均值取整(四舍五入)。
由图表中不难看出,以前2元可以坐8站,涨价后2元有的只能坐1站,涨价幅度都不知翻了多少倍!!!
地铁涨价后,部分乘客,考虑到票价问题有可能会选择改乘公交。别和我说地铁节省时间,对于吾等平民来说,时间最不值钱,谁来买点?

地铁调价这次是真的来了,那么
▼
你接下来会选择哪种方式出行呢? 单选
0人 0%
电动车
0人 0%
公交
0人 0%
公交换乘地铁
0人 0%
地铁
0人 0%
地铁换乘公交
0人 0%
单车
0人 0%
自驾
0人 0%
步行
0人 0%
飞机
0人 0%
其他方式
投票
注:由于站间距数据采集涉及到四舍五入的取舍问题,实际票价可能会有些许误差,以地铁方面最终公布的票价为准。
算一算,你上班的路,每个月需要多掏多少银子?留言告诉小编哦~
,
-
- 昆明现在的第一高楼(昆明竟然有这么多200米以上的高楼)
-
2023-08-26 16:18:12
-
- 德国收复东普鲁士(德国的龙兴之地)
-
2023-08-26 16:15:56
-
- 澳大利亚杀过17万日本俘虏吗(拉姆里岛大屠杀)
-
2023-08-26 16:13:40
-
- 大连万达影城关了吗(再见大连这家影城)
-
2023-08-26 16:11:23
-
- 南昌起义诞生的六名元帅(南昌起义走出七大元帅)
-
2023-08-26 16:09:05
-
- 日本福岛核污染区域图(福岛核污染水可能2023年被排入太平洋)
-
2023-08-25 19:16:47
-
- 河南庙会时间一览表(河南春节最具影响力10大千年古庙会)
-
2023-08-25 19:14:31
-
- 石家庄一日游攻略最佳路线(让你玩转石家庄冬天各个景色)
-
2023-08-25 19:12:15
-
- 医疗反腐的下一步,是什么?专家:合理定价医疗服务
-
2023-08-25 19:09:59
-
- 漩涡中的《中国好声音》
-
2023-08-25 19:07:42
-
- 广西师范大学附属中学一本人数(广西师大附属中学)
-
2023-08-25 19:05:26
-
- 我国原子弹成功爆炸(我国原子弹成功爆炸)
-
2023-08-25 19:03:10
-
- 贵州公交坠湖事件调查结果来了(贵州公交坠湖真相)
-
2023-08-25 19:00:54
-
- 江苏农村信用合作社(江苏省农村信用社联合社把握机遇砥砺前行中流击水二十载
-
2023-08-25 18:58:38
-
- 西安地铁十六号线开通时间(西安地铁14号线进入开通倒计时)
-
2023-08-25 18:56:22
-
- 日本现代天皇简介(时代的日本新天皇)
-
2023-08-25 09:10:56
-
- 十八罗汉四大金刚哪个厉害(山西的十八罗汉)
-
2023-08-25 09:08:40
-
- 解放后公开夺人之妻是谁 山东一农妇自称
-
2023-08-25 09:06:24
-
- 香港北部湾都会区楼盘(香港北部都会区来了)
-
2023-08-25 09:04:08
-
- 三亚婚纱影楼前十名(三亚婚纱摄影排名前十)
-
2023-08-25 09:01:52



中国最脏的女明星排名(十大最不干净女明星)
搬家时放个鸡蛋什么意思 搬家时放个鸡蛋什么意思呀